
INSPECTION
Use a straightedge and feeler gauge to check the
flatness of the engine cylinder head and block mating
surfaces (Fig. 88).
Minimum cylinder head thickness 89.95mm (3.541
in.)
CAUTION: If only one cylinder head is found to be
distorted and requires machining, it will also be
necessary to machine the remaining cylinders
heads and end plates by a corresponding amount
to maintain correct cylinder alignment.
VALVE GUIDE HEIGHT
(1) Valve Guides height requirement.
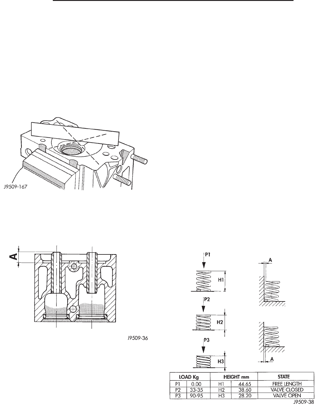
(2) Measurement A (Fig. 89): 13.50 - 14.00 mm.
VALVE STEM-TO-GUIDE CLEARANCE
MEASUREMENT
(1) Measure and record internal diameter of valve
guides. Valve guide internal diameter is 8.0 to 8.015
mm (.3149 to .3155 in.).
(2) Measure valve stems and record diameters.
Intake valve stem diameter 7.94 to 7.96 mm (.3125 to
.3133 in). Exhaust valve stem diameter 7.92 to 7.94
mm (.3118 to .31215 in).
(3) Subtract diameter of valve stem from internal
diameter of its respective valve guide to obtain valve
stem clearance in valve guide. Clearance of inlet
valve stem in valve guide is .040 to .075 mm (.0015
to .0029 in). Clearance of exhaust valve stem in valve
guide is .060 to .095 mm (.0023 to .0037 in).
(4) If valve stem clearance in valve guide exceeds
tolerances, new valve guides must be installed.
TIMING CHAIN COVER
Be sure mating surfaces of chain case cover and
cylinder block are clean and free from burrs.
VALVES AND VALVE SPRINGS
VALVE CLEANING
Clean all carbon deposits from the combustion
chambers, valve ports, valve stems, valve stem
guides and heads.
Clean all grime and gasket material from the
engine cylinder head machined gasket surfaces.
INSPECTION
Inspect for cracks in the combustion chambers and
valve ports.
Inspect for cracks on the exhaust seat.
Inspect for cracks in the gasket surface at each
coolant passage.
Inspect valves for burned, cracked or warped
heads.
Inspect for scuffed or bent valve stems.
Replace valves displaying any damage.
Check valve spring height. (Fig. 90).
Fig. 88 Checking Cylinder Head Flatness
Fig. 89 Valve Guide Height
Fig. 90 Valve Spring Chart
9 - 74 ENGINE NS/GS
CLEANING AND INSPECTION (Continued)
Kommentare zu diesen Handbüchern